
Qzone
微博
微信
近来发布的一项Apple眼动追踪专利强调了该公司对VR和AR的持续研究和投资。
据报道,去年,苹果收购了领先的眼动追踪公司SMI,眼动追踪对于使用VR或AR头显进行跟踪非常重要。例如,您可以与世界其他地方的人进行眼神交流。另外,研究表明,通过直接在眼前展示最大细节,可以在不太强大的硬件上呈现更多视觉效果令人印象深刻的细节。
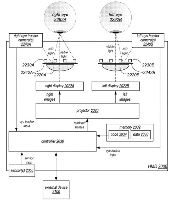
专利申请20180113508专门介绍了一种使用眼睛旁边的照相机跟踪眼睛运动的方法和仅反射不可见红外光的“热”镜。
专利说明:
眼睛跟踪系统可以包括:位于用户的脸部的每一侧并且指向HMD的目镜面向眼睛的表面的至少一个近红外(NIR)眼睛跟踪相机;
朝向用户的眼睛发射NIR光的照明源以及位于目镜的眼睛朝向表面和使用者眼睛之间的热镜。
热镜反射至少一部分NIR光,同时允许可见光通过。这些摄像头可以捕捉用热镜反射的用户眼睛的图像。
将热镜放置在目镜的面向眼睛的表面处或其附近可以将相机放置在用户脸部的两侧,而不必通过目镜进行成像。
【913VR原创内容,转载请注明及回链】