
Qzone
微博
微信
目前量产的三折叠屏手机仅有华为有,虽然例如传音、三星均曾经展示过三折叠的概念机,但是量产机迟迟没有上市。而近日,三星三折叠Galaxy Z TriFold的专利曝光,根据爆料消息,这款机型预计最早将在11月在三星APEC峰会展示,将与华为在三折叠屏手机市场竞争。
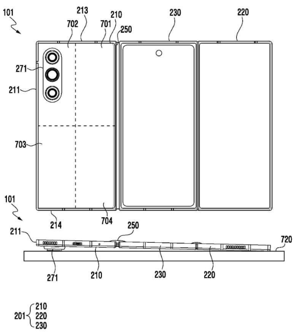
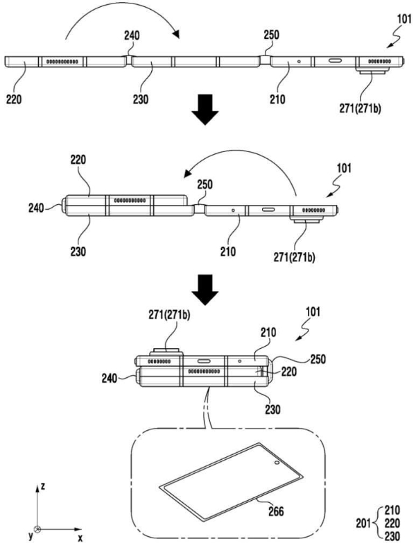
从三星三折叠的专利图来看,造型上看起来有点像三星Galaxy Z Fold7多了一块屏幕,不过内部结构有所调整,三折叠手机配备了三块电池,其中后摄模组所在的区域配备的电池容量最小。有意思的是,结合三星三折叠之前演示动画,三星三折叠还能提供反向充电。
在折叠设计上,与华为三折叠“Z”型也有所不同,三星采用的是“G”型折叠,就是两侧的屏幕一起向内折叠,相对来说,会更好保护手机的屏幕,但是缺点之一,手机相对会更厚一些。而根据内部结构图来看,折叠之后位于中间部分的电池容量最大,拥有外屏的部分电池容量相对要小一点。
上半年,三星发布的轻薄手机Galaxy S25 Edge展示了自家在手机轻薄化的能力,将手机厚度控制到5.8mm,这其实也可以理解为,三星正在为自家推出三折叠屏手机做“轻薄化”的基础,所以三星三折叠屏手机大概率是真的要来了。
不过目前华为的三折叠手机已经发布第二代,价格相比第一代下调了2000元到17999元,成本有所下降,对于三星来说,首款三折叠手机定价也是一个值得考虑的问题,不过大概率售价不会比华为便宜。
【以上内容转自“热点科技网”,不代表本网站观点。 如需转载请取得热点科技网许可,如有侵权请联系删除。】
延伸阅读: